
京东申请注册Joyrobotaxi商标
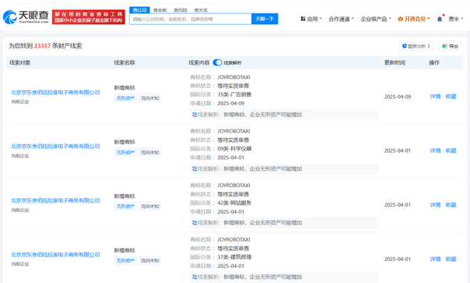
天眼查财产线索信息显示,近日,北京京东叁佰陆拾度电子商务有限公司申请注册多枚“Joyrobotaxi”商标,国际分类包括广告销售、科学仪器、建筑修理等,当前商标状态均为等待实质审查。
该公司成立于2007年4月,法定代表人为张奇,注册资本29.2亿人民币,经营范围包括机械设备销售、五金产品零售、五金产品批发、建筑材料销售、电子产品销售等,由缪钦、李娅云、张雱共同持股。
天眼查财产线索信息显示,近日,北京京东叁佰陆拾度电子商务有限公司申请注册多枚“Joyrobotaxi”商标,国际分类包括广告销售、科学仪器、建筑修理等,当前商标状态均为等待实质审查。
该公司成立于2007年4月,法定代表人为张奇,注册资本29.2亿人民币,经营范围包括机械设备销售、五金产品零售、五金产品批发、建筑材料销售、电子产品销售等,由缪钦、李娅云、张雱共同持股。
还没有评论,来说两句吧...