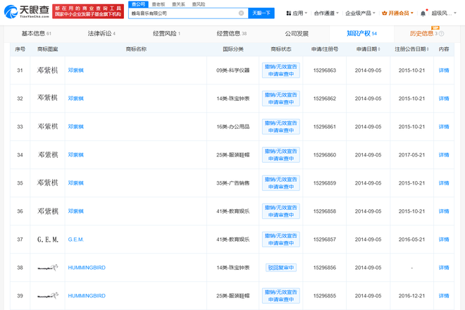
蜂鸟音乐曾注册多枚邓紫棋商标
据报道,6月12日,邓紫棋发文称与前公司的官司已经打了六年,已经超过六年没收到自己旧歌的版税,今天宣布重录旧作。
天眼查App显示,邓紫棋前经纪公司蜂鸟音乐有限公司曾注册多枚“邓紫棋”“G.E.M.”商标,国际分类涉及广告销售、教育娱乐等。值得注意的是,目前多枚“邓紫棋”“G.E.M.”商标状态为撤销/无效宣告申请审查中。
据报道,6月12日,邓紫棋发文称与前公司的官司已经打了六年,已经超过六年没收到自己旧歌的版税,今天宣布重录旧作。
天眼查App显示,邓紫棋前经纪公司蜂鸟音乐有限公司曾注册多枚“邓紫棋”“G.E.M.”商标,国际分类涉及广告销售、教育娱乐等。值得注意的是,目前多枚“邓紫棋”“G.E.M.”商标状态为撤销/无效宣告申请审查中。
还没有评论,来说两句吧...