三只松鼠注册多个松鼠老爹商标引发关注
三只松鼠公司成功注册多个关于松鼠老爹的商标,此举旨在保护品牌形象和商业利益,松鼠老爹商标涵盖了商品或服务类别,包括食品、饮料、服装等,有助于公司在市场上建立独特的品牌形象和信誉,此举也反映了三只松鼠对品牌发展的重视和对市场保护的积极态度。
近日,三只松鼠花名文化引发热议。据了解,三只松鼠几乎每个员工都取个带“鼠”字的花名,连公司CEO和老板娘也不例外,比如CEO叫“松鼠老爹”,老板娘叫“松鼠老母”。
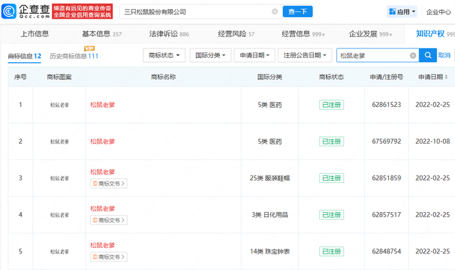
企查查APP显示,三只松鼠股份有限公司成立于2012年2月,法定代表人为章燎源,注册资本约4亿元,由章燎源、NICE GROWTH LIMITED、安徽燎原投资管理有限公司等共同持股。章燎源为公司创始人,并担任董事长、总经理、董事职务,在公司中叫松鼠老爹。企查查显示,三只松鼠已申请注册多个松鼠老爹商标,国际分类包括医药、服装鞋帽等。

还没有评论,来说两句吧...